

Wonders of Pennsylvania | The Most Amazing Places in Pennsylvania | Travel Video 4K Subscribe to the channel here, it's free but means a lot to us: / @tripinsight.travel 00:00 Welcome to Pennsylvania 03:15 Hershey 04:49 Gettysburg 07:05 Pittsburgh 09:21 Pocono Mountains 12:04 Philadelphia 14:03 Independence Hall 15:45 Ben Franklin Bridge 17:43 Benjamin Franklin Parkway 19:30 Washington Monument and Philadephia Museum of Art 21:29 Delaware River 23:45 Manheim 26:55 Lancaster 29:16 Elizabethtown College campus 30:50 Lake Wallenpaupack 31:52 Wormleysburg 32:32 Columbia 34:57 Bridgeville 37:05 Lyman Run State Park 39:06 Allegheny National Forest 40:53 Wissahickon Creek 42:49 Harrisburg 44:42 Pennsylvania State Capitol 46:24 Bensalem 48:24 Reading Pagoda 50:43 Old Brewery building 53:27 Susquehanna River 55:39 Ohiopyle 58:07 Lititz 1:00:29 Scranton 1:02:17 Outro #pennsylvania #pennsylvaniatravel #travelusa

Rainbow Over St. Peters Episcopal Church Glenside,pa Summer of of 2017
rainbow Over Lancaster, PA summer 2017
Night drive around Downtown Philadelphia. Benjamin Franklin Bridge into Downtown, University of Pennsylvania, then to Kensington by Rockys House. What do you even do about something like Kensington? Where do you start? Last Philly video. I'm in Asia at the moment. New videos coming soon. Excited about these ones! Filmed: September 2025 Location: Philadelphia Pennsylvania USA Instagram / j_utah99 Twitter / jutah99 Facebook / jutah99 Email me if you are working on something fun that relates to driving videos. I've got a few things in the works here. Philadelphia, Pennsylvania’s largest city, is notable for its rich history, on display at the Liberty Bell, Independence Hall (where the Declaration of Independence and Constitution were signed) and other American Revolutionary sites. Also iconic are the steps of the Philadelphia Museum of Art, immortalized by Sylvester Stallone’s triumphant run in the film "Rocky." Google map of the Immediate Philadelphia area









Pdf of Services in the airport area
Pdf of Philadelphia airport layout
Pdf of Investors conference report

This site for the Lehigh Valley Aiport Lehigh Valley International





Here is Website of the National Constitution Party
And here is the Website for The Constitution Party Of Pennsylvania

Here is the Website for Montgomery County Republican orginazition
Here is the web site for State wide Republican Orginazation
Here is the web site for Horsham Town Ship Republicans
The local Republicans of a near by town The Abington Township Rockledge Organization
And for the national GOP it's Republican Activist
Another category of interest is Local & State Government (My Home State); Here is the Home page for the state of Pennsylvania
The state of Pennsylvania The executive office of Pennsylvania
Looking for a Job IN Pa? Then click here to start your search!
Interested in Maps? Then click here for USGS Topographic maps for Pennsylvania
NEW! The Commonwealth Foundation -
Fighting for a Better economy in Pennsylvnia!
This is the Website of the Commonwealth Foundation - Conservative think tank for Pennsylvania
Here is Grass roots Pennsylvania The Drudgereport for Pennsylvania!
This site for all Pennsylvania Conservatives!
And here is Pennsylvania's marketplace of ideas!
Follow this site Events for the commonwealth foundation
And here is: Pennsylvanis votes
Here is Pennsylvania Independent PA watchdog in Harrisburg
Track how your pa educational Dollars are spent!
sign up for E-mail messages from the commonwealth foundation!
here is Policy on gas drilling in pa
Here is Policy on Economic growth
And CF policy site
A new site is Energy facts for PA!
A new site for pa freedom is Live free pa !
Let's get rid of the Evil PA LCB Click here to help!
Another conservative Foundation: The Lincoln Foundation
Another one is Empower PA!!!
Are you a teacher in Pennsylvania? Then click here!
A recomended New website for Media Trackers Pensylvania
NEW! The Commonwealth Partners -
Fighting for a Better economy in Pennsylvnia!
NEW! The Allegheny Institute based in Pittsburgh -
Fighting for a Better economy in Pennsylvnia!
NEW! The lincoln Institute
- Fighting for a Better economy in Pennsylvnia!
A similar website for Nationwide issues
Here is Gas Buddy's main site
Here is Related links from Gas Buddy.com
Click here for Gas buddy's GAS price temperature map of PENNSYLVANIA
Here is Gasbuddy's New Google "MASHUP" Of Philadelphia area gasprices!
Click here for GAS Buddy's GAS TEMPERATURE MAP of the USA
And here for GAS BUDDY's list of average prices across the USA
Here is gasbuddy's Gas prices by State
And last but not least GAS prices by metro area
Here is Gas price temperature map for CANADA!

Gas Prices in the Philadelphia area

GAS BUDDIES UPGRADED PHILADELPHIA AREA GAS MAP
Pittsburgh Gas Prices!

GAS BUDDIES UPGRADED PITTSBURGH GAS MAP
Allentown gas prices!

GAS BUDDIES UPGRADED ALLENTOWN GAS MAP
Click here for a page of Clear dark sky clocks for Pennsylvania
Here is the clear dark sky projection for Harrisburg PA My State Capital
Here is the clear dark sky projection for North East Philadelphia Airport PA
Here is the Clear Dark Sky Projection for the HAzelton, PA area:
Here is Pennsylvania's Internet Power Port!!!!
Pennsylvania's new New Assembly web site
Click here for Pennsylvania's Highways website!!
Click here for Harrisburgh PA highways!!!
And here for Pittsburgh PA Highways
Here is The Pennsylvania Justice Network!!!
Here is a Pennsylvania based website to help business It's SAPs Mysap.com
Pennsylvania is working on the Y2K problem Pennsylvania 2k Organization
Pennsylvania has has an office of Technology
First Here is the Constitution Of Pennsylvania The Pennsylvania Constitution
This site encourges you to come to PA and Invent the future
To invent the future you must have a site Select sites in Pennsylvania
Here is The main page for Philadelphia Highways
Here for Channel 10's traffic reports Up to the minute report on Philadelphia area traffic
Here is a map of Pennsylvania PENNSYLVANIA
Here is A report on Pennsylvania's effort to Fight West Nile Virus!
Here is Pennsylvania's site for Reauthorization of TEA21!
Pennsylvania's 21st Century Citizen Environmental Commission Pennsylvania 21st Century environment
This site specilaizes in maps of Turnpikes..... Travel Boards
Speaking of Traffic! Visit this site for Traffic from around the contry!
This site is an organization for Pennsylvania Downtowns!
News about Pennsylvania's cities!
How's this for history??? Zippo Lighter Mfg.
Here is something odd People risking their lives installing thses tiles
This section for Penn Dot material
This site is for PENN DOT's Construction web site!!!! Construction site info
In the Lehigh Valley of Pennsylvania Route 22 is being ovrhauled again! Route 22 renewal & Lehigh Vally C of C
A tip of the hat for western Pennsylvania!
I am saving you money!
" Pittsburgh by air Day or night!
This video was taken from the air, as I flew above Pittsburgh Pennsylvania (with a great view of the neighborhood of Oakland) in November of 2014. As the video starts, you are looking up the Monongahela River at the Waterfront and Homestead, with the neighborhood of Greenfield and Parkway East (I-376) coming into view shortly afterwards. As the video continues, Schenley Park, Oakland, and the University of Pittsburgh come into view, with Phipps Conservatory, Litchfield Towers, the Cathedral of Learning, and the Petersen Event Center clearly visible. Next we flew over the Upper Hill neighborhood, with the Bloomfield Bridge, Bloomfield, and East Liberty visible in the background. We then crossed over the Allegheny River with a good view of Millvale and other Northside neighborhoods. Next, McKnight Road comes into view along with North Hills High School Stadium (it was a Friday night so there was a game in progress), and the Parkway North (I-279). Finally we turn up the Ohio River, and continue along our landing path until we land at Pittsburgh International Airport.


Click here for The official City of Pittsburgh web site
Click here for The Pittsburgh Channel
Click here for Real Pittsburgh
And here for Pittsburgh first
Click here for The Andy Warhol Museum
Click here for The Pittsburgh Regional Allaince
Click here for Johnstown PA
Here is the Pittburgh Area Convention Bureau
Click here for Visit Pittsburgh.com
Click here for Visit Pittsburgh.org
Click Here for Carnegie Mellon Museum
HERE IS The Phipps Cpnservatory in Pittsburgh!
Here is another great thing for western PA it's The Digital greenHouse for Western PA!
For information about Pittsburgh It's Real Pittsburgh.com
Another source of information about Pittsburgh It's Pittsburgh first
Shell cracker plant in Beaver County to provide 600 jobs when it opens

An artist's rendering of the New cracker plant planned for Western PA, North Of Pittsburgh Credit:courtesy of Shell.

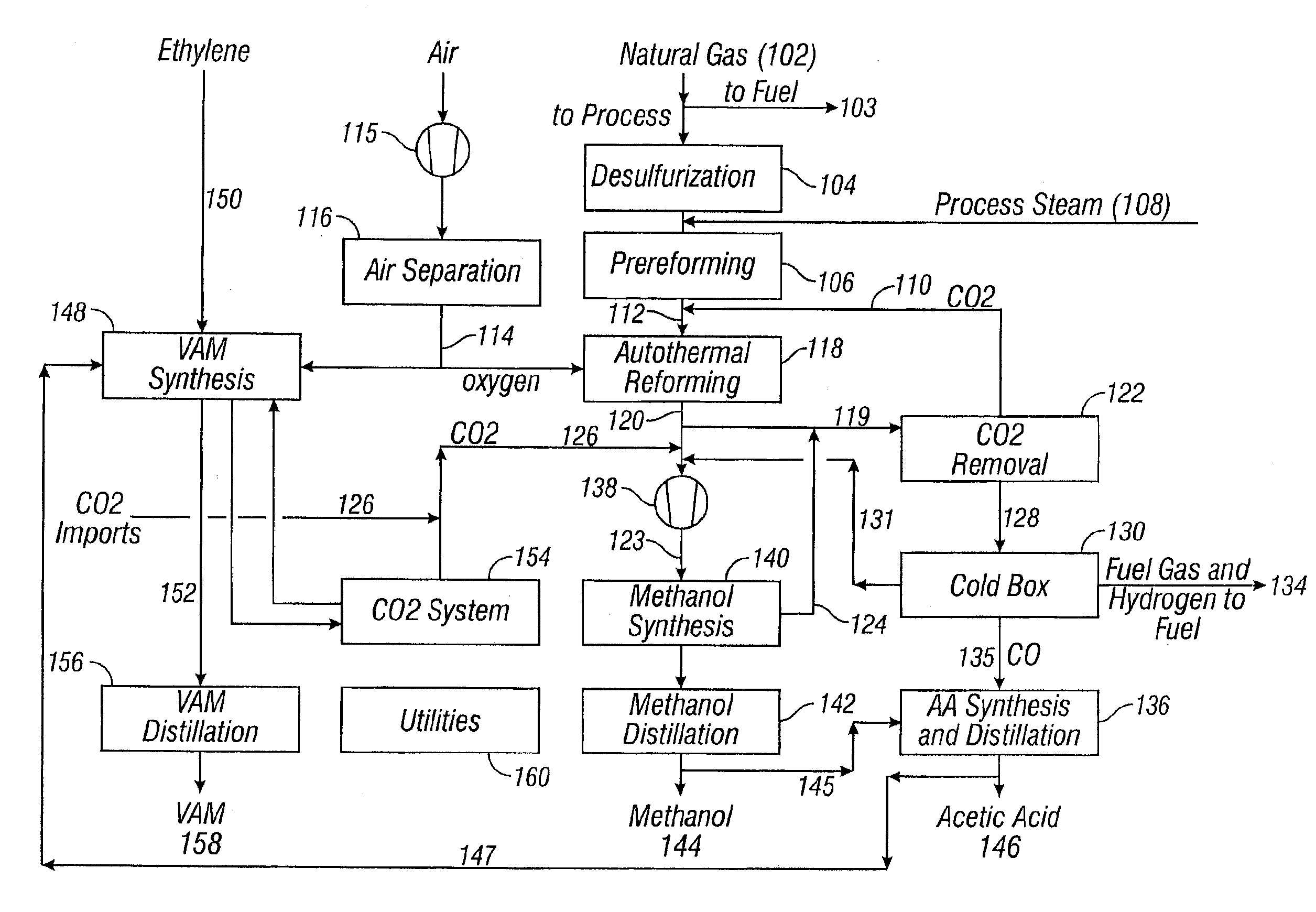
Integrated process for acetic acid and methanol US 6846951 B1 Google search result of Patent similar to ethane cracking
Shell cracker plant construction -site (Summer 2017)in Beaver County to provide 600 jobs when it opens

Royal Dutch Shell is building a 6 Billion Plant in Monaca, Pennsylvania, and nearby Businesses are already seeing positve effects Courtesy of the Pennsylvania Department of Community and economic Development
More than 5,000 people are working to build Shell’s plastics plant in western Pennsylvania. MONACA, Pa. — The 386-acre property looks like a giant Lego set rising from the banks of the Ohio River. It is one of the largest active construction projects in the United States, employing more than 5,000 people.
The cracker plant and its derivative units, when completed, will transform ethane from Marcellus and Utica shale gas into plastic pellets. The conversion process involves heating up ethane to form ethylene, which forms the basis of plastics.
Shell is building an ethane cracker and derivative units that will transform natural gas liquids into plastic pellets. The multi-billion dollar project will gobble up ethane produced from the Marcellus and Utica shales in Appalachia.

A shell building in Chester Rock Springs Business park is the former Taylor smith & Taylaor pottery site.Located Minurtes from the Royal Dutch Shell cracker being built in nearby Monaca, Pennsylvania, the site is drawing interest from companies looking to capitalize on the oppurtunity. courtesy of the Business development corp.of the northern panhandle (of West Virgina).
This is a United Airlines Plane taking off from Pittsburgh International Airport in an early morning, about 7 A.M. Great view of the river, and aerial urban sight. Pittsburgh has plenty of mountains and bridges, which enhance the view.
A tip of the hat for Central Pennsylvania!
Weather CAM for Harrisburg/Lancaster/York PA

Weather cam for Lancaster PA

Weather cam for York PA

Here is the Pocono, Milford PA Weather cam
Click here for The official City of Erie Website
And here Erie area Chamber of Commerce
Here is a private environmental organization for the Philadelphia area.... The Delaware Estuary project
And here for The Delaware Estuary project message boards...
After a 10 1/2 hour flight from Athens International Airport, I was finally able to record the final approach on PHL. In my opinion, this video provides a great view of Philadelphia and a few of its notable areas such as the Naval Shipyard and the Sports Complex. I hope you enjoy!
Short video of landing approach from New Jersey
Click here for Montgomery County Web cams
Click here for State road construction site
Click here for Pennypack Creek construction zone
Click here for Amtrack ovverpass Construction site
Click here for Academy road construction site
Click here for Penn dot's video Road weather Inforemation System (RWIS)
Here is
Philadelphia's Musuem District
Stretching from LOVE Park to the Philadelphia Museum of Art, Philadelphia's grand tree-lined Benjamin Franklin Parkway
is flanked by some of the city's most acclaimed destinations. Visitors to the Parkway Museums District will discover a cultural mecca
with world-class museums and educational institutions, the magnificent Swann Memorial Fountain, Cathedral Basilica of Saints Peter and Paul
on Logan Square and the world famous "Rocky" steps. Treasures and discoveries abound on (and just a few blocks off) the Parkway!
AND the complementary site Visit Philadelphia!!!!
Here is a site for general Scientific and Philadelphia Area Glen Center.com
And something it's Philadelphia Science Festival!
Here is Philadelphia's African American Museum!
This site for Lehigh Valley's Musik Fest
Here is the site for Western Montgomery County's Folk Fest
CLick here for POCONO Vacations It's 10k Vacation Rentals!
Here is the most popular natural attraction in Pennsylvania It's Crystal Cave!
A major tourist destination in the Lehigh Valley is Dorney Park!
Another attration is: The Allentown Fair!
Yet another Fair is the Bloomsburg fair
Here is a new attration in South Central Pennsylavania it's The Whitaker Center for arts and Science
For A South Central PA vacation here is Hershey PA attractions!
Here is the Web site for Lancaster, Pennsylvania
And look at The Pennsylvania Rennisance fair!
Here is PA Dutch country's Dutch Country PA!
Visiting Pennsylvania in the fall? FAll In Pennsylvania!
Here is more highway construction
Another construction site is Route 202 in Souteastern, Pennsylvania
Here is the Links Page to US202.com
Here is another major construction project near where I live! It's State Route 309 online !!
Click here for RT 309 WEB CAMS!


A new construction project is: The Blue Route re-surfacing project!
Here is US route 30 reconstruction in Delaware county
And here is I-95 revive!
Here is the web site for I-276 & I-95 Interchange project
here is the web site for
Pennsylvania has a very neat UN-natural History Musueum
Pennsylvania's railroad history is displayed at The Pennsylvania's Railroad Museum online
Here is another Museum it's The National Civil War Museum
Want Pennsylvania History? Then Click here for the Digital Archives of Pennsylvania!
This is the site of the new Business marketing site for the Philadelphia area It's Select Greater Philadelphia for your Business
This website for Atteactions in the King of Prussia area
Here is the link for The Keswick theatre In Glenside
And here for The Mitchell Center for performing arts
Here is Longwood Gardens in Chester County
Here is the site for the greater Philadelphia Chamber of Commerce The Greater Philadelphia Chamber of Commerece
Here is the website for The Delaware Valley Regional Economic Development Fund
Click here for
Philadelphia seaport
Here is a webcam out side of the philadelphia seaport musuem

And here for Plan philadelphia fuure!
Click here for Construction portfolio of the COMCAST Building
and the future? for phila?
here for american commerce exchange
A Video tour of Philadelphia
First here is a web site for Philadelphia Neighborhoods
Here is a new site: Dig Philly.com your guide for up to tminute activities In Philadelphia
This site for digital image history of Philadelphia!!!!


Well hello there, Mr. Franklin.! You can get up close and personal with Ben at Philly From The Top! (📷: J. Fusco for VISIT PHILADELPHIA
Here for
AND HERE FOR The comcast center Phildelphia's tallest building!!!!
Click Here for Philadelphia's Film promotion site
About a Film to be produced in the Philadelphia Area it's S I G N S
Here is the official Web Site for Philadelphia's New Regional Performing Arts Center
A major tennant of the Kimmel Center will be The World Famous Philadelphia Orchestra
July 4th is Independence day and here is Sonoco's America's Birthday site
Click here for Philly Freedom net for Fourth of July celebration
This site has a lot hot links The Philadelphia Convention Bureau
Here is the web site for The New Philadelphia Convention Center!
Here is the web site for the New National Constitution Center
And here for Independence Hall And Historical Philadelphia, Pennsylvanis area
You can experience Pennsylvania at ExperiencePA.com!
Experience Phialsdelphia at Philadelphia Magazine
Experience Shopping in Philadelphia at The Shops At Philadelphia's Tallest Building complex!
Experience Philadelphia at the NEW visitors center! It's The Independence Visitor Center!
This site for Art work based in Philadelphia!
Here is another great Philly area site.... US Law dot com"
The local PBS TV Channel has a neat Store of Knowledge!!
Here for a neat Philly area institution..... Sesame Place Theme Park
Here are Vacation resources For Philadelphia
Here are resources for High Tech workers in Philadelphia
This is a video of a Southwest Airlines B 737-800 taxing and taking off from Philadelphia International Airport. This flight was en route to Fort Meyers. I hope you enjoy the air traffic control conversations too! Thanks for watching. Don't forget to comment, rate and subscribe. Look out for more videos soon!
Fantastic overview of the city!!! Included are views of the Schuylkill River, Delaware River, Walt Whitman Bridge, Benjamin Franklin Bridge, the Sports Complex and the Center City Skyscrapers!!! Filmed from the economy cabin on board US Airways!!! on board Flight 1731 to Chicago O'hare. 10/12/11. to Chicago O'hare. 10/12/11.
Here is the website for Philadelphia University!!!
Here is PHila city.com
Here for information on Campus Philly.com
And here for Philly College.com
Here for College campus information For Phialdelphia
Here is the site for Penn State Main Campus
This site for Buying stuff in Philadelphia
This section for pa educational sites
Here is the web site for Delaware Valley College In Doylestown
Here is Temple's Ambler Campus!!!
This is the site Of Montgomery (PA) County's Community College
here is the site for The Lincoln Institute
Here is the web site of the High School I graduated from Abington High School, PA
Here is a Penn State Branch Abington Campus of Penn State
Here is a small college nearby it's Arcadia University
Here for High tech in Valley Forge
This site for High tech in Philadelphia
A new University in the Philadelphia area is: Phoenix university
After work there is After work experience in Philadelphia
More information about Phiadelphia it's The Philadelphia Story
Another high tech goody in Pennsylvania it's the Pittsburgh Supercomputer center!
Here is a virtual reality site for Philadelphia Virtual reality for Philadelphia
Philadelphia has a great Music center in the Mann Music Center

The fantastical comeback of Longwood Gardens’ Main Fountain Garden A rich man’s "attack of insanity" turned into one of the world’s greatest gardens. So how on earth could it get any better?
Here is a map of South Eastern Pennsylvania S.E.PA
Take this link to find Episcopal Resources
This map is of the Pennsylvania Turnpike PA Turnpike map
This site for the latest traffic report sponsored by PECO PECO's traffic report
For a general traffic report for the Philadelphia Area Philadelphia Area Road Construction
This site for the Regional Planning Agency for the Philadelphia area The Delaware valley Planning Commission


The Promenade at Upper Dublin is under development moving full speed ahead to make up for time lost due to the unusual rain during 2018 - 2019 . COURTESY OF BET INVESTMENTS

Is King of Prussia the new boom town? Photo by Philly by Drone(as of August 2017) If King of Prussia builds it, will they—millennials, baby boomers, and commuters—come? Eric Goldstein likes to think so. The executive director of the King of Prussia Business District has spent the past six years spearheading efforts to turn King of Prussia’s reputation as a mega-mall to a place where people actually want to live.

Arguably the most highly-anticipated project for King of Prussia is also the most ambitious and long-time coming: The King of Prussia Rail Line. Spearheaded by SEPTA, this effort to connect King of Prussia with the Norris High Speed Line (NHSL) has been years in the making, and there are still plenty more years to go. “It has amazing potential,” says Goldstein, whose organization helped launch the KOP Rail Coalition. “And it was amazing to me that King of Prussia was able to get itself to where it is today without public transportation. That was shocking to me in 2011 and still is in 2017.”

Courtesy of King of Prussia Town Center Perhaps one of the most surprising transformations in the area has been that of the King of Prussia Town Center. The 260,000-square-foot town center, just steps from the numerous residential developments like Canvas, has given the area its first so-called Main Street and drawn national restaurants and retail to the area.
The web site of Montgomery County, Pennsylvania
This is the web site for Keep Montgomery county moving!
Here is the New Montgomery County real time incident map
here is access to Pennsylvania's Library system
But you must have a valid Montgomery County Library card
Montgomery County Public library system
Here is the site for Upper Moreland Township's Library
This site for Downtown Willow grove improvement project
Here is web site for Bucks County Library System
Here is the web address for Abington Township Library
Here is the a web site of the Girl scouts of South Eastern Penna
This is the site for Montgomery County's County Seat Norristown, Pennsylvania!
or here for for Norristown.com!
Here is another great barely known attraction it's Barnes Foundation Museum!
Eastern Montgomery County has it's own chamber of commerce!
In addition to be being a House of Worship, This should be a Grand Tourist Attraction The Bryn Athryn Cathedral
OR click here for The Bryn Athryn Cathedral
Or here for Our Lady of Czestochowa
Camden N.J. Has a neat N.J. Aquarium With A Shark CAM!
This section is on economic information mainly about Montgomery County! Pennsylvania
Here is a site to help out the Pennsylvania economy The PA Economy Leauge
Here is a link to the Chamber of Commerce of Montgomery County Valley Forge Chamber of Commerce
Here is The King of prussia Mall's site..... The King of Prussia Mall
Here is the site for Montgomery Mall In In Montgomeryville,Montgomery County of
course!
Montgomery
Mall
Here is a site for Lancaster, PA
Here is the site of a local organization I disagree with The Blair Mill Corridor Assocation
And here for the Marxist/Lennist state wide orgination I disgree with Penn Pirg
This section for ambler, PA Ambler Mainstreet
And here for: The Borough of Ambler
This is the site for one of my neighboring Counties Bucks County, Pennsylvania
and here for BUCKS COUNTY.ORG
The Space industry Returns to Bucks County!
Click Here for A Hatboro WEB Cam
Here is a Map of Hatboro PA, a neighbor of mine The Boro Of Hatboro
Here is the website Make it Lunch In Hatboro!
Here is the official web site HATBORO PENNSYLVANIA
And Here is the site for School District I live in The Harboro Horsham School District
For Waht's happening in Horsham, PA CLICK HERE!
Here is the web site for Hatboro Horsham Educational foundation
Here is the web site for The Union Libray of Hatboro
Here is Horsham's new Library.....

And here for Horsham's New Library!
Click here for Wowbrary, get automatic updates from the Horshan Library
CLick here for Montgomery County Library & Information Network Consortium
And here for Pennsylvania Online World of Electronic Resource(POWER)
Here is the site for Historical Hatboro Pennsylvania
here is the website for a lecture on the Battle of Chicamauga
Here is the web site for a local Haunted Woods In Upper Bucks County
Here is Upper Dublin's WEB SITE another neighbor of mine Upper Dublin Township
Here is the web site for Abington Township, Pennsylvania
Here is the web site for Upper Gwynedd Township
AND another neighbor is Montgomery Township PA
Here is a site criticalof Montgomery Twp. Govrnment Montgomery Township Community Watch
Here is the Eastern Montgomery County Chamber of Commerce
Another Muncipal neighbor of is Ambler Pennsylvania!
This is the commercial Advertisement site for the Lansdale/North Penn Area
Here is the Official Web Site for the Borough of Lansdale PA: Lansdale Borough site
Here is another neighboring boro Towamencin Township
Another neighbor of mine is Cheltenham Township
This Link to find out the weather in Lansdale/North Penn area
Lansdale PA weather Click here for
Weather Radar for the Philadelphia Metro area
Lansdale, pA
This is a map of Maple Glen PA another Neighbor of mine!!!
Here is the WEB site of the Township I live IN!! Horsham Township, Pennsylvania
This map locates HORSHAM TOWNSHIP, Pennsylvania Horsham Township, Pennsylvania USA
This is a good map of Horsham Township!!!!!!!! Horsahm Townsip, Pennsylvania
Here is google's map of Horsham and vicinity!
View Larger Map
While you are in Horsham why not visit The Dove Tail Artisans in Glnside for Artistic gifts!
My Township's web Page Horsham Township's Official Page
Click here for Dresher Road Reconstruction Project.url
Here is the web site of The Horsham Water and sewer authority!
Here is the links page of my Horsham Twp Links
E-mail the horsham Township a non-emergency messahe: Non-emergency E-mail to the Horsham TWP. Police Dept
Here is the website for The New Horsham Chats Orginazation
Email Horsham Chats Mailbox
This section for schools
A local school district Called the Pennridge School district
This is a site for Nationwide network of Schools
This section for local newspapers
This site is for my BUCKS-MONTGOMERY COUNTY NEWS PAPERS The Intelligencer-Record
Here is their new Intellegencer web site
And their new up to minute headlines from the intellegencer!
This site is for another News paper The Norristown Times Herald
This section for chamber of commerce
here is the Local Chamber of commerece its The Horsham Chamber of Commerce!!
Here is the web site for The Montgomery County Chamber of Commerce!
Here is the site for The King Of Prussia Chamber of Commerce
Montgomeryville, Pennsylvania is another neighboring town of mine!!!!!! Montgomeryville, Pennsylvania
Landsdale is a nearby town and guess what? Landsdale PA area WEB site
This site is for the Pennsylvania Dioacese Of Pennsylvania The Episcopal Dioasce of Pennsylvania
MY state Senator has a web page State Senator greenleaf
Here is the web site for The Pennsylvania GOP senate Web site
This site is for the Pennsylvania House GOP Pennsylvania House GOP organization
This section for Pennsylvanis Higher education links
The University of Pittsburgh in Western Pennsylvania The University of Pittsburgh
Yes, Pennsylvanis has a Pennsylvania Institute of Technology
This site is for Penn State's Great Valley Graduate Center
Here is the web site for Philly's News radio KYW 1060
Here is The new station W N T P News Talk
And here W P H T Tak Radipo with a pulse
A NEW Website For W P H T
This section focuses on Philadelphia local TV media
Channel 3 from Philadelphia KYW TV 3
Channel 6 from Philadelphia WPVI TV
Channel 10 from Philadelphia WCAU TV
Channel 12 the PBS Channel from Wilmington, DE WHYY TV
Channel 17 The Warner brother's channel in Philadelphia
Channel 23/52 Public TV for South Jersey
Here for Channel 29 FOX 29 for Phila
Channel 35, Philadelphia's exclusive Public Television Station WYBE TV
Ch 39 Public TV for the Lehigh valley
Here is channel 48's page W G T W !!!!
Channel 57 UPN, Phila's Voyager Source Channel 57 in Phialdelphia
Ch61 Pax tv in the Delaware valley
Ch69 Pax tv for the Lehigh Valley
The American Broadcasting CO. A B C
The Columbia Broadcasting Co. National PBS
National Broadcating & The evil Empire N B C
The New Kid on the Block FOX National FOX
Philadelphia's Film exposition website
This section for movies I love
The favorite movie I have so far is: STAR WARS!!!!!!
The second Favorite Science Fiction series Star Trek!!!!
The Third favorite series is The X-files
Here is another TV show I watch It's Stargate
And here is Andromeda !
Here is PECO'S economic development site PECO economic development
Click here for The New Pennsylvania!!!
Here is the Montgomery County Economic development site Montco economic development
This section contains maps to the Philadelphia Metropolitan Area
Here is a map of the Philadelphia Metropolitan Area The Phila Metro AREA
Here is a map of center city Philadelphia Center city
Here is Historic Philadelphia Historic Phila
Here is Independence Hall Independence Hall, Philadelphia
Here is the Cultural Center The Benjamin Franklin Parkway
Here is the new avenue of the arts The Avenue Of the ARTS
Another interesting spot is the Franklin Institute! The Franklin Institute
This map locates the city's hot night spot South Street
Here is the Delaware River Port Authority THE DRPA
Here is another Bi-state agency in the Philadelphia Area The Delaware River Basin Authority
Another Commission in South Jersey A Suburb of Philadelphia is The South Jersey Transportation Authority
Here is the Delaware Valley Regional Planning Commission DVRPC
Here is the Traffic Report for the Philadelphia Area Smart traveler For the Philadelphia Area
Here is the report for road construction The Phila. Metro Construction report
This site for the North Penn regional area Traffic mgmt and construction report
Here is the Links page for the traffic Management association
This is the report on Interstate Road Conditions in Pennsylvania Pennsylvania Interstate road conditions
Here is the Report for the Philadelphia International Airport! The City of Philadelphia Web Site
Here is a map of the Philadelphia Airport Phila Intl Airport
Here is the web site for the Phila Metro area Transit agency S E P T A
Here is amap of the SEPTA System The septa system
AMTRAK serves the Philadelphia also AMTRAK
I love Talk Radio! Here is the web site for Talk Radio in the Phila area It's Philly Talk Radio Online!
Here is the links page to Philly Radio online
Here is the website for the talkradio station in the Philadelphia area it's WPHT 1210 AM
Another humor break; here is my favorite Cartoon: DILBERT
Here is the weather report for the Philadelphia area Weather for Philadelphia
Philadelphia's Exposition resources
THE Bucks County Historical Society BCHS
The Philadelphia Stock Exchange The Philadelphia Stock Exchange
Another asset in Philadelphia is the University Science Center University Science Center
Here is a great organization in Valey Forge its The Freedoms Foundation
Here is the official web site for James Michener
Here is Manor Junior College Related to Pearl S. Buck Material
AND here for Pearl S. Buck Foundation
and anoher site Pearl S. Buck Foundation
Click here for the Greater Philadelphia First group
Here is Greater Philadelphia First's Business site
And here is The Home Fromt Message
This group helps to prescribe an economical Pennsylvania The Pennsylvania Economy Leauge For Eastern Pennsylvania
This section for the Ben Franklin initiative to assist companies grow...
This organization helps high tech small businesses grow!!!!!(State wide web page) The Ben Franklin Organization
This is the sub-page for South-eastern PA! South Eastern PA Ben Franklin
Here is the sub-page for North Eastern PA! North Eastern PA Ben Franklin
Here is the sub-page for Central And Northern PA! Central And Northern PA Ben Franklin
Here is the sub-page for Southwestern PA! Ben Frankiln for Southwestern PA
Here is the web site for the city of Philadelphia and related Links The City Philadelphia Pennsylvania
The following site deals with problems of the Philadelphia Port Philadelphia Port Development